【雷池】硬件版-反向代理模式WAF快速上线配置
各位师傅好,本文章介绍硬件版反向代理模式的快速上线的配置方法,配置举例为反向代理常规部署场景,如需要更详细的上线配置指导手册,或者更复杂网络场景,可以咨询长亭技术支持。
配置初始化
网络接口、路由管理
1、管理网口MGT口配置设备管理IP,注意添加类型是真实IP


2、业务口配置业务流量转发使用的IP,单机部署情况下,添加类型是真实IP,如需要部署双机HA,则通常需要配置一个类型为虚拟IP的业务IP,可查阅 雷池硬件版-双机HA配置说明 相关文章,或者咨询长亭技术支持。

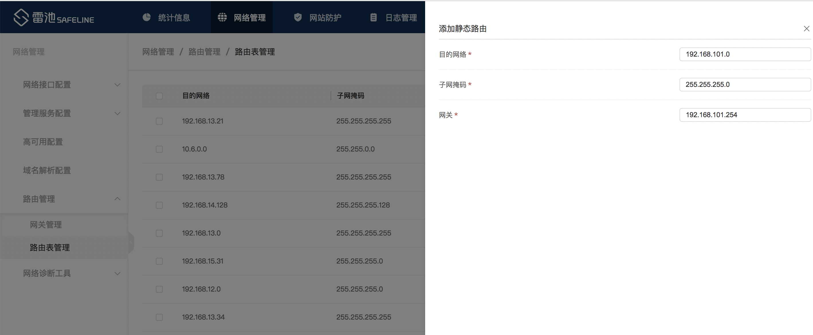
3、路由管理配置网关,硬件版雷池WAF目前仅支持配置1个IPv4/IPv6默认网关,因此当出现WAF与 客户设备管理员网段、业务网段 需要走不同网关时,需要额外配置静态路由。

比如上述配置了默认网关为 业务网段 网关,则此时管理员网段需要额外配置静态路由,例如:

4、如果客户仅提供了一个业务IP,即用来转发业务,也用来管理WAF,则可以通过下面章节的“管理服务配置”,在业务口也打开“web管理服务”功能来满足该需求。
管理服务配置
管理服务配置可以根据需要,开启对应服务的可访问接口、源IP等,比如可以开启管理mgmt口的ping功能,方便上线后进行网络连通性测试

高可用、DNS解析地址
1、如果采用双机部署,需要开启HA配置

2、如需要WAF通过域名访问某个地址,需要提前配置DNS解析地址

告警配置、日志归档配置
1、可根据客户需求配置邮件告警、syslog告警

2、日志归档配置,可根据实际需求合理调整自动归档时间周期、自动删除归档周期。

防护策略调整配置、系统版本及引擎版本检查
防护策略管理,调整防护策略开关,编辑开启没有启用解码方式、攻击检测模块,阻断阈值根据防护模式进行选择,比如默认防护模式则可以配置为仅阻断高危,观察模式则可以配置为不阻断,高防模式则可以配置为阻断全部。
检测模块中的部分模块,编辑后可以看到更多子选项开关,比如:情报模块中的“检测配置项”,可以将未启用的子选项打勾开启,其余保持默认值。
如需要调整其他检测模块的子选项,可咨询长亭技术支持。

同时检查确认开启了“HTTP响应处理”,并开启了攻击检测日志记录响应内容(如有)。

查看“系统信息”> "系统固件信息",点击节点固件版本,确认当前各系统服务版本号、攻击检测引擎版本号,可联系长亭技术支持确认是否有系统更新补丁、检测引擎更新版本,如有更新版本,可直接在下方“固件升级”处上传更新。

上线配置
配置思路
1、配置工作组
2、添加站点(观察模式)
3、上线前测试
4、切流量及测试验证
5、观察期分析日志
6、快速消除误报(接口开发不规范)
7、开启拦截模式
配置工作组
点击“网络管理”>“工作组管理”, 点击右上角添加工作组,按如下要求填写后,点击确定,创建工作组成功。


添加站点
1、添加客户指定站点,点击“网站防护”>“防护站点管理”, 点击右上角添加站点,如下填写后,点击确定,创建站点成功。




2、如果站点是https站点,则需要勾选“启用SSL”,同时勾选“SNI转发”

上面完成创建站点后,建议根据客户业务原本实际对外提供的SSL/TLS协议支持情况进行配置,编辑该站点,选择“基本信息”>"SSL版本"进行配置。同时 SSL加密算法 一般不用进行配置,仅当一些特殊情况需要进行配置。比如:当通过安全评估工具(如:漏洞扫描器、https://myssl.com)检测站点使用了不安全红色加密算法时,根据客户需求,进行算法配置的调整。(可联系长亭技术支持咨询相关配置方法)

3、通常客户业务站点存在2台及以上的后端业务服务器,建议开启健康检查。
在上述站点创建完成后,编辑该站点,选择“请求处理方式”>“业务服务器健康检查”

健康检查的协议,可以根据客户需求选择4层的TCP或者7层的HTTP/HTTPS协议,目的是为了检查后端业务服务器的健康状态。健康检查方式配置项说明如下:

上线前测试
反向代理模式,因为可以主动访问业务口IP进行访问测试,因此这里可以在客户正式切流量之前进行测试。
1、可以在管理员电脑上host文件上新增一条域名对应到雷池IP的记录,比如:www.dvwa.com 192.168.100.100 (域名解析指向业务口IP)
2、访问站点正常(返回状态20X、30X)
3、发送模拟攻击请求(浏览器访问http://www.dvwa.com/?id=1 or 1=1),确认雷池看到日志

切流量及测试验证
1、配合客户进行部署上线、流量切割。
2、登录web界面查看统计信息界面,查看请求数是否发生变化(当WAF正常检测到HTTP流量时,请求数会开始增加)

3、通过模拟攻击,确认攻击是否正常产生日志: http://www.dvwa.com/login.php?id=1 or 1=1 ,上面我们配置了观察模式,所以此处是放行。

观察分析日志
通常使用观察模式 ,分析运行大概2~3天左右,分析产生的攻击日志是否有误报现象。
误报消除
使用误报消除功能(自定义规则-检测模块控制),将误报的请求、检测模块进行加白。
开启拦截
点击“网站防护”>“防护站点管理”, 编辑站点,将防护策略 改为 默认防护策略。
